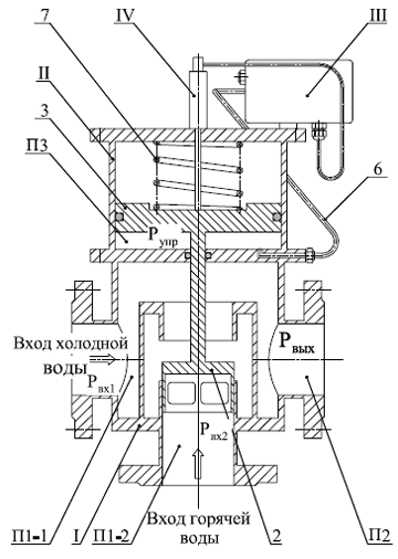
КЛАПАНЫ
Клапаны 3-х ходовые смесительные с пневмоприводом (АДТ-32)
Ду 50-100
ПРИНЦИП ДЕЙСТВИЯ
I - трёхходовой регулирующий клапан;
II - пневмопривод одностороннего действия;
III – электропневмопозиционер;
IV – потенциометр обратной связи;
2 – клапан;
3 - поршень привода;
6 - импульсная трубка;
7 – пружина.

Клапан состоит из трёхходового регулирующего клапана
I с пневмоприводом II одностороннего действия и электропневмопозиционера
III с потенциометром обратной связи IV. Направления потоков рабочей
среды через регулирующий клапан I показано стрелками. Управление
положением клапана 2 производится подачей сжатого воздуха в полость
привода П3 позиционером III в зависимости от значения уставки (set
point). Например, при увеличении значения уставки позиционер III подаёт
сжатый воздух в управляющую полость П3 привода через импульсную трубку
6. Давление Рупр в управляющей полости П3 возрастает и пневмопривод
перемещает клапан 2 в сторону закрытия верхнего седла и открытия окон в
нижнем седле до тех пор, пока рассогласование между уставкой и сигналом,
снимаемым с потенциометра обратной связи, не станет равным нулю (под
нулём в данном случае подразумевается сигнал рассогласования по
величине, не превышающей зону нечувствительности позиционера III). При
уменьшении значения уставки позиционер III сбрасывает сжатый воздух из
полости П3 в атмосферу. Давление Pупр в полости П3 уменьшается и пружина
7 перемещает поршень 3 с клапаном 2 на открытие верхнего седла и
перекрытия окон в нижнем седле до компенсирования сигнала
рассогласования. При неизменном значении уставки позиционер III
удерживает поршень 3 с клапаном 2 в положении, соответствующем заданному
значению уставки. Таким образом производится регулирование соотношения
потоков рабочей среды по двум входам.